西部证券:收购国融证券过户完成,资本掣肘仍是痛点
9月11日,西部证券(002673)发布公告:其受让的国融证券11.5亿股(占总股本64.6%)已完成过户登记并对外公示,至此实现对国融证券的控股。该交易自2024年6月启动、2025年8月获证监会核准、9月完成股权变更,西部证券希望以现金并购方式做大规模、优化区域与牌照布局,同时为国融证券纾解长期股权纠纷与资本束缚。

并购过程
回顾西部证券对国融证券的并购过程:2024年6月,西部证券首次披露筹划以现金方式收购国融证券控股权,同年11月董事会批准具体方案,拟以3.3217元/股、总价约38.25亿元收购64.6%股权;对应标的100%股权估值约60.4亿元。2025年2月,证监会受理并发出首轮反馈,要求进一步细化整合方向,并于8月正式核准西部证券成为国融证券主要股东,陕投集团为实际控制人,并要求一年内上报具体整合方案,国融证券30个工作日内办理股权变更。
企查查显示,在并购前,国融证券第一大股东为长安投资,持股70.6%。完成并购后,西部证券拟持有国融证券64.6%股份,为公司第一大股东。

“规模+区域+牌照”的整合
展开全文
对于西部证券和国融证券而言,合并的动机源自对“规模、区域和牌照”拓展的期待。
其中,最直接的影响是资产、收入的抬升。2024年年报显示,西部证券总资产959.64亿元、营收67.12亿元、归母净利14.03亿元;国融证券总资产188.85亿元、营收11.19亿元、归母净利0.81亿元,完成合并后的总资产将提升至行业前20附近,经营财务表现也将大幅提升。
另外,还能实现区域版图与业务层面的互补,西部证券营业部为99家,其中近六成在陕西;而国融证券的72家营业部则分布至内蒙古、北京等华北地区,完成合并后,更有助于西部证券跳出“西部券商”的地域标签,实现全国化布局。
而从业务牌照来看,国融证券控股国融基金、北京首创期货,叠加西部证券旗下西部利得基金、西部期货,在“公募+资管+期货”多牌照协同上进行整合,有助于拓展公司业务面。
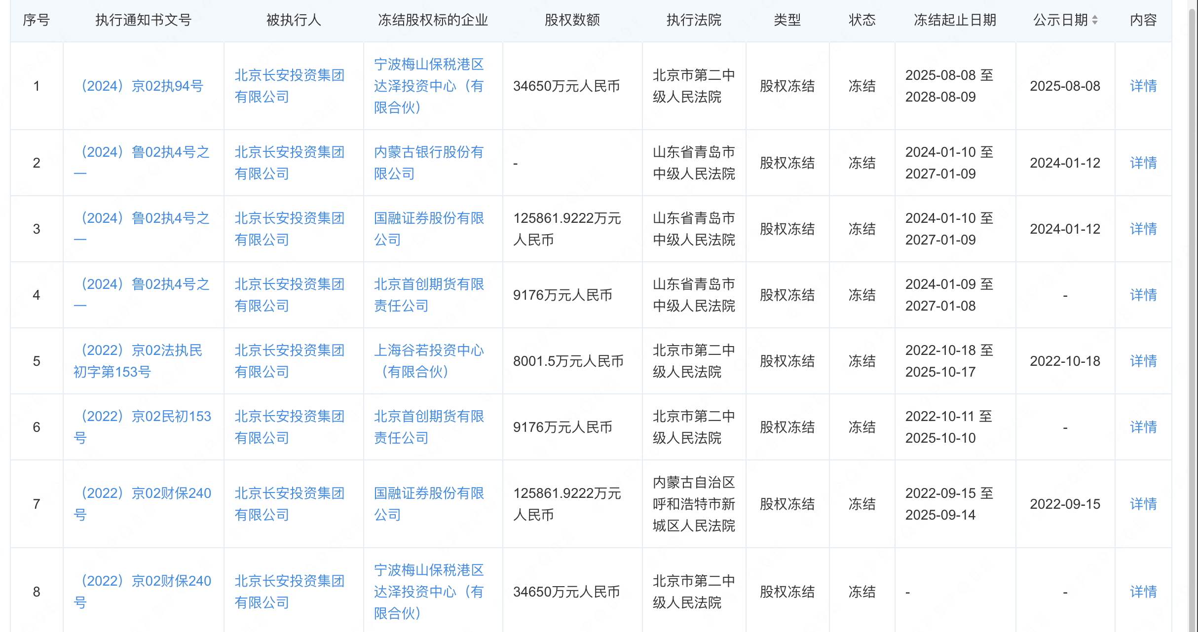
第一大股东股权冻结
与此同时,合并也面临一些关键痛点。国融证券2016年增资引发了IPO对赌争议,致第一大股东长安投资所持股权自2022年9月15日至2025年9月14日被司法冻结,关于回购义务的争议引发了一系列仲裁和诉讼,导致公司资本受限、信用业务也受掣肘,截至2024年末国融证券两融余额17.64亿元,同比下降9.45%,主因为资本金不足及风控指标限制。完成并购后,控股权移转至上市平台及陕投集团实控,有望恢复资本与市场信心,为后续补充资本、扩展信用与投行业务创造条件。

西部证券与国融证券的并购,实质上是一次以现金换时间的规模化突围:对西部证券而言,是在区域和牌照上拓展业务的选择,对国融证券而言,则是重塑治理结构、缓解资本压力的关键一环,在完成过户后,对两家券商而言,更为关键的是未来围绕资本、网点、牌照和风控如何实现融合,届时若能兑现合并赋能,“千亿级”券商或将再添一家具备区域纵深与全国化能力的“新面孔”。





评论